Угол перфорированный алюминиевый

Угол перфорированный алюминиевый используется в ремонтных работах с применением различных строительных смесей для выравнивания внешних и внутренних углов стен, стыков, дверных и оконных откосов. Он не только помогает улучшить фиксацию ремонтного состава в процессе его затвердевания, но и защищает стены от сколов и других повреждений.

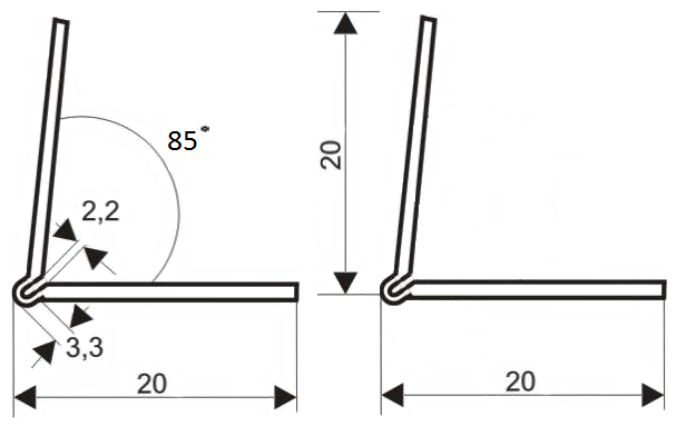
Особенностью уголков данного вида является возможность обеспечения высокой степени надежности сцепления и соединения за счет перфорации. Максимальное прилегание поверхностей обеспечивается благодаря сечению профиля, представляющего собой угол 85 градусов.
ПРЕИМУЩЕСТВА
невосприимчивость к коррозии
Антикоррозийные свойства расширяют область и возможности применения уголка
НЕБОЛЬШОЙ ВЕС
Не утяжеляет несущие конструкции каркаса, облегчает монтажные работы
МЕХАНИЧЕСКАЯ ПРОЧНОСТЬ
Алюминиевый уголок обладает достаточной прочностью, благодаря особенностям технологии производства исключительно из качественного металла
ЭКОЛОГИЧЕСКАЯ ЧИСТОТА
НЕВЫСОКАЯ СТОИМОСТЬ
Строение и состав строительного алюминиевого уголка позволяют при минимальных затратах труда добиться максимального результата. Штукатурный уголок требуется для реализации не только технических, но и эстетических интерьерных задач. Обеспечит идеальную геометрию углов для воплощения сложнейших дизайнерских решений и сохранит целостность элементов декора на многие годы.
Алюминиевый перфорированный угол представляет собой холодногнутый металлопрокат Г-образной формы с перфорацией, который в зависимости от ширины полки бывает равнополочным или неравнополочным.
ТЕХНИЧЕСКИЕ ХАРАКТЕРИСТИКИ
Размерный ряд: от 3/8" (15-19 мм) до 4" (107-116 мм).
Защита от коррозии: цинковое гальваническое покрытие до 9 мкм.
Шумоизоляция: согласно DIN 4109.
Огнестойкость: согласно DIN 4102: класс B2.
Температура предельной рабочей среды: согласно ГОСТ 30778-2001: от -50 до +80 ºС.
Влажность окружающей среды: согласно ГОСТ 15150-69: до 75%.
Поверхность хомутов без заусенцев, подсеков, трещин.
Отсутствие вмятин и заусенцев на поверхности резьбы, препятствующих навинчиванию проходного калибра.
РАЗМЕРЫ
© 2006 - 2023
ООО "УралПроф"